
咨詢熱線0755-26993877
由于核工業的發展,鈾已排放到環境中,由于其放射性和化學毒性而導致健康風險。2011年福島災難后,各國都加強了核電站安全檢查。因此,開發高效且易于使用的鈾檢測技術至關重要。 未受污染的環境水中的鈾濃度范...

隨著國內、制造業、機器人、醫療等行業對運動傳感器的需求越來越大,運動傳感器的使用也越來越多。紅外傳感器是最受歡迎的運動檢測器,可用于各種設備。傳感器收集有關移動的信息,當有東西移動時,設備可以用這些信...

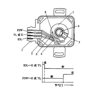
節氣門位置傳感器一方面用于檢測節氣門開度的角度作為發動機負荷的參考信號,另一方面反映節氣門開度變化的速度,從而反映駕駛員的駕駛意圖。對于自動變速器的電子控制系統,節氣門位置傳感器主要用于檢測節氣門開度...

節氣門位置傳感器的目的是確保將正確的空氣和燃料混合物輸送到您的汽車發動機,以使您的車輛發揮最佳性能。它是汽車燃油管理系統的重要組成部分,位于蝶形主軸/軸上。 當此傳感器無法正常工作時,您會遇到明顯的癥...

現代燃料噴射內燃機依靠燃料和氧氣的有效混合物來運行。這是燃油噴射系統的任務-它在頂部有一個節氣門體,包括一些輔助這個過程的組件。節氣門體中最重要的兩個部件是節氣門體位置傳感器(TPS)和節氣門體溫度傳...

氣動閥,通常稱為方向控制閥,可以防止或轉移系統中壓縮空氣或其他氣體的流動。這些閥門用于驅動其他部件,如致動器、夾具、手動工具或其他設備,也用于引導其他閥門。提供各種類型的閥門,所有閥門都具有不同的特性...

電動執行器與其他類型的執行器相比究竟如何?許多人認為氣動執行器更便宜,因此這是他們應用的最佳選擇。在某些情況下,這與事實相去甚遠,電動執行器效率更高。這意味著執行器性能更好,甚至可以在使用時節省資金。...

電動執行器是機器或設備的一部分,它通過按下按鈕將某種形式的能量轉換為機械力來實現運動。種類繁多,但最流行的是使用不可壓縮液體作為能量的液壓類型。與其他選擇相比,電動線性執行器最近獲得了更多的關注,因為...

選擇正確的安裝類型會影響線性執行器的執行方式。以下是直線執行器最常用的安裝類型。 1.U形夾安裝 一種流行的電動直線執行器安裝座使用U形夾和安裝銷。沒有支架或任何其他類型的支撐來停止運動。這使致動器能...

一、氣動直線執行器 氣動執行器和電動執行器之間的主要區別在于源的類型。氣動線性執行器使用壓縮氣體。氣體被泵入氣缸的一端,然后從另一端推出。這個動作向前推動活塞,然后驅動負載。 氣動線性執行器是桿式執行...
